Echo HC 2420 HC 3020 Control Cable Assy New Oem P021049150 View larger
  • Echo hc 3020 clearance
  • Echo Hedge Clipper HC 3020 2015 iFixit
  • Echo hc 3020 clearance
  • Echo Shindaiwa DEL 15072017062556 HC 3020 S N T77814001001
  • Echo HC 2420 HC 3020 HCS 3020 HCS 4020 HT232 HT235 Shindaiwa

Echo hc 3020 clearance

Echo hc 3020 clearance, Echo HC 2420 HC 3020 Control Cable Assy New Oem P021049150 clearance

$70.00

SAVE 50% OFF

$35.00

- +

Add to wishlist


Frasers Plus

$0 today, followed by 3 monthly payments of $11.67, interest free. Read More


Echo hc 3020 clearance

Echo HC 2420 HC 3020 Control Cable Assy New Oem P021049150

ECHO X543004820 LABEL MODEL HCS 3020 Echo Parts

Echo Hedge Clipper HC 3020 2015 iFixit

Genuine OEM Echo C600001590 Frame for HC 2420 HC 3020 eBay

Echo Shindaiwa DEL 15072017062556 HC 3020 S N T77814001001

Echo HC 2420 HC 3020 HCS 3020 HCS 4020 HT232 HT235 Shindaiwa

Description

Product Name: Echo hc 3020 clearance
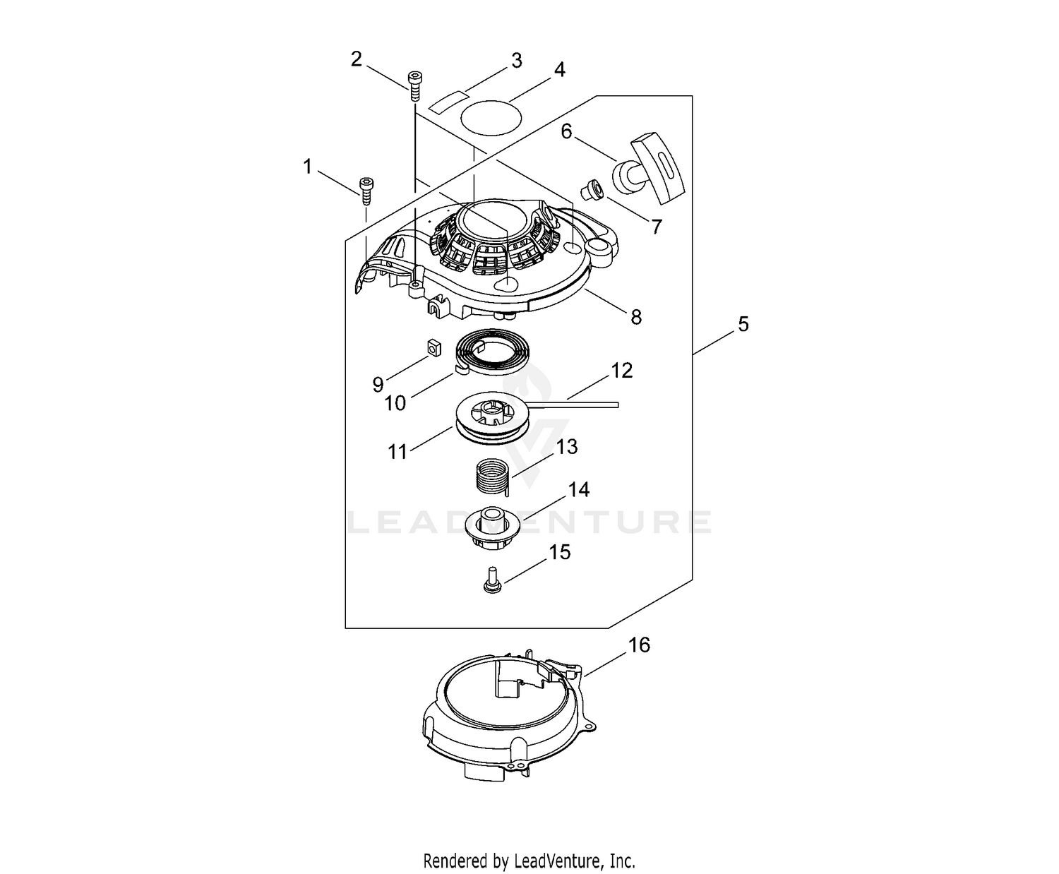
New Models Turf Pros Saltillo MS 662 869 1300 clearance, ECHO Hedge Trimmers HC 2420 HC 3020 Product Knowledge Video clearance, HC 3020 Echo Distributors and Price Comparison Octopart clearance, ECHO 30 clearance, ECHO HC 3020 30 clearance, Echo HC 2810 28 clearance, Echo Hedge Trimmer HCS 3020 clearance, Echo HC 2420 HC 3020 HCS 3020 HCS 4020 Fuel Cap Assy New Oem clearance, Echo HC 3020 Hedge Trimmer 30 clearance, ECHO HC 2810 for sale in Alexander City AL. Satterfield Inc clearance, Echo HCS 2810 28 clearance, HC 2020 Hedge Trimmer with 20 clearance, HQRP Filter compatible with Echo HC 150 HC 200 HC 1500 HC 2000 HC 3020 GT 200 GT 1100 GT 2000 TSI 21 TT 24 HCS 4020 SCH 265 SHC 210 SHC 225 SHC 265 clearance, Echo HC 235 HC 245 HCS 3020 HCS 4020 HT232 HT235 Caution clearance, Echo HC 2420 HC 3020 HCS 3020 HCS 4020 Fan Cover New Oem clearance, ECHO HCS 3020 30 clearance, Echo Genuine OEM Blade for HC 3020 Hedge Trimmer X412000680 clearance, Echo HC 2420 HC 3020 HCS 3020 HCS 4020 Muffler New Oem clearance, Echo HC 2420 HC 3020 Control Cable Assy New Oem P021049150 clearance, ECHO X543004820 LABEL MODEL HCS 3020 Echo Parts clearance, Echo Hedge Clipper HC 3020 2015 iFixit clearance, Genuine OEM Echo C600001590 Frame for HC 2420 HC 3020 eBay clearance, Echo Shindaiwa DEL 15072017062556 HC 3020 S N T77814001001 clearance, Echo HC 2420 HC 3020 HCS 3020 HCS 4020 HT232 HT235 Shindaiwa clearance, Echo Hedge Clipper HC 3020 2015 iFixit clearance, A051002791 Genuine Echo Starter Assembly hc 2420 hc 3020 hcs 4020 clearance, HQRP Filter compatible with Echo HC 150 HC 200 HC 1500 HC 2000 HC 3020 GT 200 GT 1100 GT 2000 TSI 21 TT 24 HCS 4020 SCH 265 SHC 210 SHC 225 SHC 265 clearance, P021037930 ECHO HC HCS2810 3810 4020 2020 2210 clearance, Echo X Series Hedge Trimmer HC 3020 for Sale in Tucson AZ OfferUp clearance, Echo HC 2420 HC 3020 HCS 3020 HCS 4020 Screen Spark Arrester clearance, Echo Hedge Clipper HC 3020 2015 iFixit clearance, Genuine Echo A051002791 Starter Assembly Fits HC 2420 HC 3020 HCS 4020 HCS 3020 Trimmer clearance, New Models Outdoor Power Inc. Quincy IL 217 228 9850 clearance, Genuine Echo CARBURETOR HC 2020 2420 3020 Part A021004900 eBay clearance, Echo HC 2420 HC 3020 HCS 3020 HCS 4020 HT232 HT235 Shindaiwa DH232 DH235 Crankcase Gasket New Oem V102000240 clearance.

Echo hc 3020 clearance